
| |
![]() |
|
Y型鍛鋼截止閥是指關閉件(閥瓣)沿閥座中心線移動的閥門。根據閥瓣的這種移動形式,閥座通口的變化是與閥瓣行程成正比例關系。由于該Y型鍛鋼截止閥的閥桿開啟或關閉行程相對較短,而且具有非常可靠的切斷功能,Y型鍛鋼截止閥又由于閥座通口的變化與閥瓣的行程成正比例關系,非常適合于對流量的調節。因此,這種類型的閥門非常適合作為切斷或調節以及節流使用。

標準材質細表
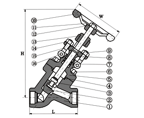
| 序號 | 零件名稱 | CStoASTM | AStoASTM | SStoASTM | |
| A105 | F22 | F304(L) | F316(L) | ||
| 1 | 閥體 | A105 | A182F22 | A182F304(L) | A182F316(L) |
| 2 | 閥瓣 | A276420 | A276304 | A276304(L) | A276316(L) |
| 3 | 閥桿 | A182F6 | A182F304 | A182F304(L) | A182F316(L) |
| 4 | 墊片 | 316夾柔性石墨 | 316夾PTFE | ||
| 5 | 閥蓋 | A105 | A276 304 | A182F304(L) | A182F316(L) |
| 6 | 螺栓 | A193B7 | A193B16 | A193B8 | A193B8M |
| 7 | 填料 | 柔性石墨 | PTFE | ||
| 8 | 填料壓套 | A276410 | A182F304(L) | A182F316(L) | |
| 9 | 填料壓板 | A216WCB | A351CF8 | ||
| 10 | 手輪 | A197 | |||
| 11 | 銘牌 | SS | |||
| 12 | 螺母 | A1942H | A1944 | A1948 | A1948M |
| 13 | 閥桿螺母 | A276410 | |||
| 14 | 螺母 | A1942H | A1944 | A1948 | A1948M |
| 15 | 活節螺栓 | A193B7 | A193B16 | A193B8 | A193B8M |
| 16 | 銷釘 | 柔性石墨 | PTFE | ||
| 適用介質 | 水、蒸汽、油品等 | 水、蒸汽、油品等 | 硝酸、醋酸等 | ||
| 適用溫度 | —29℃~425℃ | —29℃~550℃ | —29℃~200℃ | ||
注意:客戶需求的其他材質也可采用.密封面材料配對客戶指定內件代號決定
CS=碳鋼;AS=合金鋼;SS=不銹鋼;
尺寸(MM)和重量(KG)
| NPS | 1/2" | 3/4" | 1" | 11/4" | 11/2" | 2" |
| L | 98 | 111 | 120 | 140 | 140 | 170 |
| H(開) | 175 | 215 | 254 | 305 | 305 | 365 |
| W | 100 | 125 | 160 | 160 | 180 | 200 |
| 重量 | 5 | 6.3 | 7.6 | 9.8 | 13.8 | 14.0 |
浙江以法他閥門有限公司專業生產鍛鋼閥門,鍛鋼閘閥,鍛鋼截止閥產品廣泛應用于石油、化工、冶金、電力、軍工、造紙、及工程配套行業,愿與天下有識之士一起,為中國閥門工業的騰飛和進步做出更大的貢獻!